上门卖身电话24小时服务,上海品茶大圈工作室上门服务电话号码是多少?,全国空降24小时服务联系方式,纯出外围招聘

股票代码
836946

选择区域/语言 在线留言3D展厅VR全景 欢迎进入新乡市高服机械股份有限公司官网!

新乡市高服机械股份有限公司

专注筛分行业40+年超10000+客户的选择

全国咨询热线: 400-0373-685 / 0373-5701115

筛分机价格
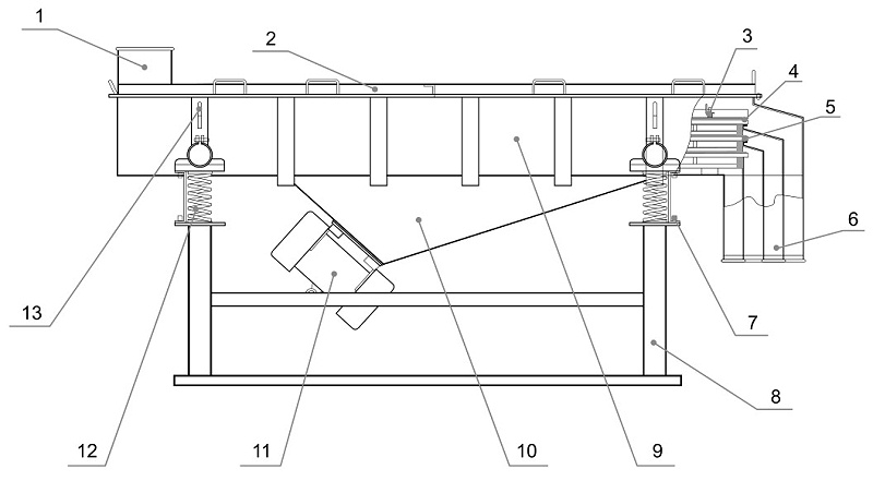
直线振动筛坡度,走料太慢,两台电机的转向,安装角度
返回列表 来源: 发布日期: 2021.11.08

问:直线振动筛坡度一般是多少?

答:直线振动筛坡度倾角0°~7° 根据物料特性不同所选择的倾角不同。

问:直线振动筛走料太慢怎么办?

答:1.检查筛网的涨紧度,确保筛面绷紧不松动;
2.直线振动筛坡度倾角适当调整大一些0°~7°;
3.选择激振力较大的振动电机;

如果还是不能解决说明购买设备时出现问题,选择经验丰富的厂家购买设备。

问:直线振动筛两台电机的转向?

答:两台电机做相对运转时,一台正向运转,另一台方向运转,其产生在横向的激振力由于电机的相对运转而相互抵消,如下图所示:

直线振动筛两台电机的转向

问:直线振动筛电机安装角度?

答:直线振动筛的电机形式分两种:一种上振式,另一种下振式,安装角度不能说固定的角度,根据设备尺寸大小、配置等各方面因素不同角度也不尽相同,两种形式示意图如下:

直线振动筛电机安装角度

问:直线振动筛可以用一个电机吗?

答:不可以,单台电机做运转时产生的激振力无法抵消,导致设备倾斜损坏,详细可以查看直线振动筛工作原理。

直线振动筛工作原理:当纵向安装在筛体上的两台振动电机做相对运转时,其产生在横向的激振力由于电机的相对运转而相互抵消,其纵向激振力通过传振体传递到整个筛箱上,而使筛面振动,进行筛分作业的。

咨询热线

400-0373-685